2022-09-29 00:00:00 快科技
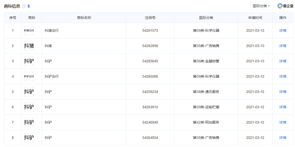
天眼查App显示,近日,第54285649号抖驴”商标准予注册的文书公开。
文书显示,北京字跳网络技术有限公司对京杭(温州)科技有限公司申请的抖驴”商标提出异议。
国家知识产权局经审查认为,被异议商标与异议人引证的部分抖音”商标指定使用商品的功能用途、服务的内容特点等方面存在一定区别,未构成近似商标。

此外,抖驴”与异议人部分引证在先注册的抖”抖音”商标在文字构成、呼叫等方面具有一定差异,未构成近似商标。
因此,被异议商标的注册使用一般不会造成消费者的混淆,国家知识产权局对第54285649号抖驴”商标准予注册。
据了解,京杭(温州)科技有限公司还注册了抖猪”抖猪出行”抖驴出行”等商标。

资料显示,京杭(温州)科技有限公司成立于2021年02月04日,经营范围包括一般项目:软件开发;物联网技术研发;计算机系统服务;摩托车及零配件批发;汽车租赁;互联网销售等等。
相关攻略
最新应用