2022-09-29 00:00:00
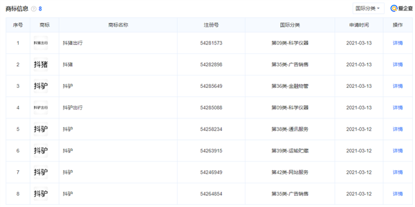
本站(ChinaZ.com)9月29日 消息:天眼查信息显示,近日,第54285649号“抖驴”商标准予注册的文书公开。文书显示,北京字跳网络技术有限公司对京杭(温州)科技有限公司申请的“抖驴”商标提出异议。

国家知识产权局经审查认为,被异议商标与异议人引证的部分“抖音”商标指定使用商品的功能用途、服务的内容特点等方面存在一定区别,未构成近似商标;与异议人部分引证在先注册的“抖”“抖音”商标在文字构成、呼叫等方面具有一定差异,未构成近似商标。
因此,被异议商标的注册使用一般不会造成消费者的混淆。最终,国家知识产权局对第54285649号“抖驴”商标准予注册。

相关攻略
最新应用