2022-09-17 00:00:00
本站(ChinaZ.com)9月16日 消息:日前,抖音电商发布了关于创作者“搬单”的违规处罚公示第二期内容。
通知称,近期平台排查发现,有不少创作者存在“搬单”行为,即在精选联盟挑选商品后添加到自己的商品橱窗,使用自己所有或控制的帐号、雇佣他人去自己橱窗进行下单,并将购买的商品低价去其他平台或渠道进行出售,以此倒卖赚取差价。该行为属于虚假交易行为,不仅对品牌商家造成严重的影响,也对平台的生态及声誉造成极大的影响。
针对此类行为,平台将针对"创作者搬单"的虚假交易进行专项治理。一经发现,将依据《电商创作者违规与信用分管理规则》《创作者「虚假交易」实施细则》等平台规则及创作者与平台签订的相关协议进行处置,包括但不限于限制用户下单、扣除创作者信用分、限制或永久关闭电商权限。

另外,抖音电商还发布了关于开展营销活动未履约违规处罚公示第九期内容。
据悉,部分创作者在直播/短视频中利用抽奖、买赠、免单、返现、秒杀等活动方式诱导用户下单,但实际不履约或欺诈用户,对平台生态和用户体验造成不良影响。平台致力于维护消费者权益,营造绿色健康的网络电商环境,针对此类行为,平台已出台专项措施做重点监控和打压。
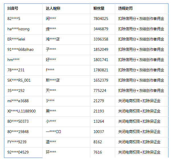
抖音电商近期已经针对超200位创作者违规行为进行处罚,现对部分违规创作者公示如下:

相关攻略
最新应用